SHARP/autoSHARP User Manual previous next
Chapter 2

What SHARP can do

Copyright    © 2001-2006 by Global Phasing Limited
 
  All rights reserved.
 
  This software is proprietary to and embodies the confidential technology of Global Phasing Limited (GPhL). Possession, use, duplication or dissemination of the software is authorised only pursuant to a valid written licence from GPhL.
 
Documentation    (2001-2006)  Clemens Vonrhein
 
Contact sharp-develop@GlobalPhasing.com


Contents


Phasing scenarios


Introduction

Throughout this document we will use some notations that might be unfamiliar to you: have a look in the glossary if you're stuck.

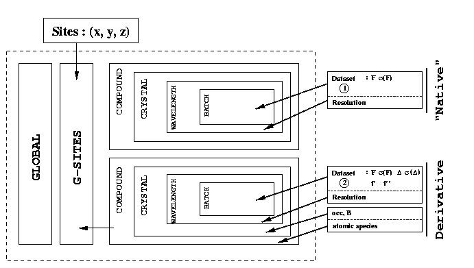
We will use a simplified description of the SHARP hierarchy as well (which is similar to what you're going to see on the left hand side of your SIN file editor). The notation of this hierarchy (tree structure) is:

       C-<i>  Compound <i>  
         X-<j>  Crystal <j>  
           W-<k>  Wavelength <k>  
             B-<l>   Batch <l>  

It might be a good idea to go through all of the presented examples here, even if you're going to do MAD right away. The ordering is so as to show you the buildup of more complicated phasing scenarios starting from the simplest case. This can help you in understanding the hierarchical structure of the SHARP input.


SAD

This is the simplest case for heavy atom refinement and phasing: it only requires a single dataset. Obviously, the anomalous differences should be measured complete and as accurate as possible.

The nice thing about SAD is that you don't have to consider non-isomorphism between different crystals/datasets. If you have significant radiation damage during data collection of a MAD experiment it might be beneficial to start with a simple SAD refinement - using the first (peak?) wavelength only. Once this refinement has stabilised you can add additional wavelengths to see if the increased non-isomorphism doesn't outweigh the additional accuracy that you should be getting by using multiple wavelengths.

You don't necessarily need to travel to a synchrotron to collect a good dataset for SAD: some elements (e.g. Fe) have a nice anomalous signal at Cu Ka wavelength. For other elements data collection at a synchrotron source (with tunable wavelengths) is obviously more appropriate.

The simple layout will look like this:

       C-1  
         X-1  
           W-1  reference  
             B-1   

You can estimate the scale factor K for your data (putting it on roughly absolute scale if your atomic composition is correct). You can't estimate the temperature scale factor B. Additionally, you can't refine any of these two parameters.

Since we only have a single wavelength there are - obviously - no isomorphous/dispersive differences available. Therefore, the only non-isomorphism parameters one can refine are based on the anomalous differences. This is generally true for the reference dataset: there are no isomorphous/dispersive for the reference dataset!

Your MTZ file will contain the columns

      FMID   amplitude: F 
      SMID   standard deviation of FMID: sigma(F) 
      DANO   anomalous difference: F+ - F- 
      SANO   standard deviation of DANO: sigma(F+ - F-
      ISYM   flag to specify which of either F+ or F- was 
        measured for an acentric reflection if no anomalous data 
        is present. 


SIR(AS)

If you have a native dataset and one derivative dataset (with or without anomalous differences measured) you can do a SIR(AS) heavy atom refinement and phasing. Since this requires two datasets we'll have to deal with non-isomorphism issues. The layout is as follows:

       C-1  
         X-1  
           W-1  reference  
             B-1   
       C-2  
         X-1  
           W-1    
             B-1   

As reference you want to use your best dataset: this is quite often your native - but it doesn't have to! The important point is, that your MTZ file should have the cell parameters of your reference data set. This is necessary since all G-SITES are defined within this cell that is assumed to have zero non-isomorphism.

For the reference dataset the same restrictions about scaling and non-isomorphism parameters apply as for the SAD case. For the second compound, however, one can now not only estimate scale factors (multiplier K and temperature factor B) but also refine these. Furthermore, since any non-reference dataset has per definition isomorphous/dispersive differences (to the reference) non-isomorphism parameters based on these differences can be refined. If anomalous differences are present, non-isomorphism parameters based on these can be refined.

In cases where only low resolution (below 3 Å) is available, the temperature factor like parameters (temperature scale factor and both global non-isomorphism parameters) might not be well determined. In these cases it might be helpful to switch their refinement off (and set these to zero values).

Your MTZ file will contain the columns

      FMIDnat   native data 
      SMIDnat   
        
      FMIDder   
      SMIDder   
      DANOder   derivative data 
      SANOder   
      ISYMder   


MAD

The tree structure of the SHARP input allows for easy specification of a phasing scenario based on MAD. A typical 3 wavelength MAD experiment would look like this:

       C-1  
         X-1  
           W-1  reference  
             B-1   
           W-2    
             B-1   
           W-3    
             B-1   

The "branching" now happens at the Wavelength level. This has the (intended) side effect, that all parameters at the Compound and Crystal level are shared by the three wavelengths: all wavelengths have heavy atoms with identical coordinates x, y and z (G-SITES), chemical type (C-SITES), occupancy and temperature factor (T-SITES).

One of the most important parameters for this type of calculation are the scattering factors f' and f'' for each wavelength. Ideally, these should come from a fluorescence scan on the same or (eg in the case of Se-MAD) a very similar crystal. If you haven't got this information, your second best bet is probably to use some kind of "standard" values - usually available from knowledgeable colleagues or the beam-line personnel. This seems to work quite well in standard cases like Se-MAD. If even that is not possible, one note of advice: tabulated or calculated values (eg by the CCP4 program CROSSEC tend to be correct when far away from the edge. But: at or close to the edge these values can be very wrong.

But in general, a fluorescence scan will be available - otherwise how did you find your edge in the first place?

Your MTZ file will contain the columns

      FMIDpk   
      SMIDpk   
      DANOpk   peak wavelength 
      SANOpk   
      ISYMpk   
        
      FMIDinf   
      SMIDinf   
      DANOinf   inflection point wavelength 
      SANOinf   
      ISYMinf   
        
      FMIDhrm   
      SMIDhrm   
      DANOhrm   high energy remote wavelength 
      SANOhrm   
      ISYMhrm   

It is recommended to input the wavelengths in the same order they were collected: usually peak -> inflection -> remote. With modern synchrotron sources the effects of radiation damage even for cry-cooled crystals can't be underestimated. And we want the best dataset as reference. You might be able to see the effects of radiation damage through an increase in non-isomorphism parameters during the refinement.


MIR(AS)

By now you should be familiar with the SHARP hierarchy. A MIR(AS) with 2 derivatives might look like this

       C-1  
         X-1  
           W-1  reference  
             B-1   
       C-2  
         X-1  
           W-1    
             B-1   
       C-3  
         X-1  
           W-1    
             B-1   

One word about choice of reference: if your two derivatives are quite similar (eg both are Hg soaks that probably have quite a few sites in common) it is probably better to pick one of these two compounds as reference. Why that? The two derivatives might have very low non-isomorphism between them - or the same kind of non-isomorphism relative to your native dataset, which is the same. If you pick the native as a reference, compounds 2 and 3 will have similar, correlated non-isomorphism. The treatment of non-isomorphism in SHARP (for now) assumes that all non-isomorphism is un-correlated. Although some correlation might not be totally avoidable, it can make a big difference to the quality of the final phases to take some care when picking a reference. A graphical example for 2 Hg soaks and one Pt soak can be found here.

Obviously, there might be some drawbacks: what if the derivative datasets are of much worse quality than the native? Or of lower completeness? The resolution range might be more restricted ... This has to be a case-by-case decision.

If you run autoSHARP in MIR(AS) mode (even only to do the initial data scaling and analysis) you will get several tables of R-factors that might help you spotting clusters of similar datasets/derivatives. You probably want to pick a member of one of these clusters as a reference.


MAD + native

Just one example to show that nearly any kind of phasing scenario can be described using the SHARP hierarchy. It is quite possible, that a specific crystal structure was first attempted to be solved using molecular replacement techniques. Therefore, a highly complete native dataset is available. If this didn't work, one might have gone back to the wet lab to do seleno-Methionine expression for a Se-MAD data collection. Obviously it would be nice to combine all these datasets. Here is what the layout would look like:

       C-1  
         X-1  
           W-1  reference  
             B-1   
           W-2    
             B-1   
           W-3    
             B-1   
       C-2  
         X-1  
           W-1    
             B-1   

What do we see? There are two things:

  1. we defined two compounds since the native (S-Met) is chemically different from the 3 wavelength MAD (Se-Met).
  2. we used the first MAD wavelength as a reference since we avoid correlated non-isomorphism this way.
How do we define our "heavy" atom sites? It all depends how one defines the structure that is common to both compounds. There are two possibilities:
  1. define Se atoms in the 3 wavelength MAD datasets and S atoms in the native dataset (see picture).

    This assumes a protein with "holes" in the delta position of each methionine as the underlying structure. This has the disadvantage that the underlying structure is chemical nonsense and double the amount of heavy atom parameters have to be refined. The advantage is, that the definition of heavy atoms is logical and straightforward.

  2. define Se-S atoms in the MAD datasets and nothing in the native (see picture).

    This assumes a protein with ordinary methionines (S-Met) as underlying structure. It has the disadvantage, that a special kind of heavy atom (Se-S) has to be defined. However, only one set of heavy atom parameters has to be refined.


Others

Hopefully it is clear that nearly any kind of phasing scenario can be put into the SHARP hierarchical description. Some note on how to do this:


Residual maps

The residual maps calculated in SHARP are a very valuable tool for


Density modification

Although this is not - strictly speaking - a SHARP feature, the phase improvement and interpretation tools that we provide are tightly connected to the actual phasing step of SHARP. Additionally, although the first electron density map most crystallographers are inspecting is probably the unmodified map directly from the heavy atom phasing, the best electron density map for building and interpreting the structure is almost always obtained after several steps of phase improvement and extension using various density modification tools.

The various tools are:

There is also a direct connection to the ARP/wARP suite of programs. For further information please consult your original documentation for these programs.

The solvent flattening protocol(s) allows for a variety of parameters to be set. Although the defaults should give a reasonable result it might be worth to try slightly different values for maximum performance. All this is done through the Phase Improvement and Interpretation Control Panel which is accessible through the main log-file of a SHARP run (or from the Results page).


External phase information

There might be additional sources of phase information available: a (poor) molecular replacement solution, a partially built model or phase information from a non-isomorphous derivative. All these can be used within SHARP as external phase information. For doing so, the phase information has to be encoded as Hendrickson-Lattman coefficients.

If the phase information comes from another SHARP run these coefficients are already present in the output MTZ file (columns HLA, HLB, HLC and HLD in eden.mtz). To get these coefficients from a model (PDB file) one could use the CCP4 programs SFALL, SIGMAA and SFTOOLS.

Note 1 : it is important, that all external phase information is on the same origin as the heavy atom sites refined within SHARP.

Note 2 : strictly speaking, it is only valid to use this external phase information for calculation of the centroid structure factor (electron-density map) if this is independent phase information. Otherwise bias is introduced.


Last modification: 25.07.06